APÊNDICE L - GUIA PARA INSTRUÇÕES DE REGATA

Este guia fornece um conjunto de instruções de regata ensaiadas e destinadas essencialmente a provas importantes de campeonato para uma ou mais classes. Assim, é particularmente útil para campeonatos mundiais, continentais e nacionais e outras provas de semelhante importância. O guia pode ser igualmente útil para outras provas; no entanto, para tais provas, algumas destas instruções serão desnecessárias ou inconvenientes. Os oficiais de regata deverão, por conseguinte, ser cuidadosos ao fazerem as suas escolhas.

Uma versão ampliada deste guia, Apêndice LE, está disponível no website da ISAF (www.sailing.org). Contém disposições aplicáveis às provas multi-classe de maior escala e mais complicadas, assim como variações de diversas instruções de regata recomendadas neste apêndice. Será revisto periodicamente para reflectir progressos das técnicas de gestão de regatas à medida que elas se desenvolvem, e pode ser descarregado como texto básico para a elaboração de instruções de regata destinadas a qualquer prova específica. O Apêndice L pode ser igualmente descarregado do website da ISAF.

Os princípios em que todas as instruções de regata devem ser baseadas são os seguintes:

  1. Devem incluir somente dois tipos de disposições: as intenções da comissão de regatas e as obrigações dos concorrentes.
  2. Devem referir-se exclusivamente à competição. Informações referentes a acontecimentos sociais, atribuição de amarrações, etc., devem ser fornecidas separadamente.
  3. Não devem alterar as regras de regata, excepto quando tal seja claramente desejável.
  4. Não devem repetir ou reproduzir qualquer das regras de regata.
  5. Não devem repetir-se a si próprias.
  6. Devem seguir uma ordem cronológica; ou seja, a ordem em que os concorrentes as utilizarão.
  7. Quando possível, devem ser utilizadas as palavras ou frases das regras de regata.

Ao utilizar este guia, rever previamente a regra J2 e decidir quais as instruções necessárias. As instruções que são exigidas pela regra J2.1 são assinaladas com um asterisco (*). Suprimir todas as instruções que não forem aplicáveis ou necessárias. Seleccionar a versão preferida, quando existe uma possibilidade de escolha. Seguir as indicações da margem esquerda do texto para preencher os espaços onde aparece uma linha a traço contínuo (______) e seleccionar o enunciado preferido, se for apresentada uma escolha ou opção entre chavetas ([...]).

Após eliminadas as instruções não utilizadas, voltar a numerar todas as instruções em ordem sequencial. Verificar se os números das instruções estão correctos quando uma instrução se refere a outra.

Inserir em linhas separadas o nome completo da prova, as datas, inclusivas, desde as medições ou desde a regata de treino até à última regata ou cerimónia de encerramento, o nome da autoridade organizadora, e a cidade e país.

 

 

_____________________________________________

_____________________________________________

 

_____________________________________________

INSTRUÇÕES DE REGATA

1

REGRAS

 

1.1*

A prova será disputada de acordo com as regras, definidas nas Regras de Regata à Vela.

Inserir o nome. Especificar integralmente as prescrições relevantes.

1.2*

As prescrições seguintes da autoridade nacional _________ serão aplicadas: ________ .

 

(OU)

 

Utilizar somente se a autoridade nacional do local da prova não adoptar uma prescrição da regra 87.

1.2

Não se aplicam prescrições da autoridade nacional.

Registar o nome de quaisquer outros documentos que regulam a prova; por exemplo, as Regras do Equipamento de Regata à Vela, na medida em que se aplicam.

1.3*

_______ serão aplicados.

Ver regra 86. Inserir os números da regras e especificar as alterações.

1.4

A(s) regra(s) de regata ______ será(ão) alterada(s) do seguinte modo: __________.

Inserir o(s) número(s) da(s) regra(s) e o nome da classe. Fazer uma declaração separada para as regras de cada classe.

1.5

Regra(s) ____ das regras da classe _____________[não se aplica(m)][é(são) alterada(s) do seguinte modo: ____ ].

 

1.6

Se existir qualquer incompatibilidade entre idiomas, prevalecerá o texto em língua inglesa.

 

Inserir o(s) local(ais) específico(s).

2

AVISOS AOS CONCORRENTES

Os avisos aos concorrentes serão afixados no(s) quadro(s) oficial(ais) de avisos localizado(s) em ______

 

Alterar as horas, se forem diferentes.

3

ALTERAÇÕES ÀS INSTRUÇÕES DE REGATA

Qualquer alteração às instruções de regata será afixada antes das 09.00 horas do dia em que entrar em vigor, excepto qualquer alteração ao programa de regatas, que será afixada até às 20.00 horas do dia anterior aquele em que entra em vigor.

 

4

SINAIS FEITOS EM TERRA

Inserir a localização.

4.1

Os sinais feitos em terra serão expostos em ____ .

Inserir o número de minutos.

4.2

Quando a bandeira SR é exposta em terra, “1 minuto” é substituído por “não inferior a _____ minutos” no sinal de regata SR.

 

(OU)

 

Inserir o número de minutos.

4.2

A bandeira D com um sinal sonoro significa “O sinal de advertência será feito dentro de não menos de _____ minutos depois da bandeira D ter sido exposta. [Pede-se aos barcos que não saiam do porto até este sinal ser feito]”.

Eliminar se uma regra de classe se aplicar.

4.3

Quando a bandeira Y é exposta em terra, a regra 40.1 aplica-se sempre enquanto a navegar. Isto altera o preâmbulo da Parte 4.

 

5

PROGRAMA DAS REGATAS

Rever como for pretendido e inserir as datas e as classes. Incluir uma regata de treino, se as houver. Especificar as regatas quando a série consiste em regatas de qualificação e regatas finais. O programa pode ser também apresentado em anexo.
5.1*

5.1*

Datas das regatas:
Data Classe ___        Classe___
______ regata             regata
______ regata        dia de reserva
______ dia de reserva   regata
______ regata           regata
______ regata           regata

Inserir classes e números.

5.2*

O número de regatas.:
Classe       Nº de Regatas       Regatas/dia
_____          _____          _____
_____          _____         _____

 

 

(a) Os dias de reserva poderão ser utilizados se as regatas não forem completadas como programado, ou se a comissão de regatas considerar improvável que as regatas possam ser completadas como programado.

 

 

(b) Uma regata extra por dia pode ser efectuada, desde que nenhuma das classes se adiante no programa mais do que uma regata.

Inserir a hora.

5.3*

A hora programada para o sinal de advertência para a primeira regata de cada dia é _______.

5.4

Quando se verifica um prolongado adiamento, e quando mais do que uma regata (ou sequência de regatas, para duas ou mais classes) forem realizadas no mesmo dia, o sinal de advertência para a primeira regata e para cada uma das regatas seguintes será exposto logo que praticamente viável. Com o fim de alertar os barcos de que uma regata ou sequência de regatas terão o seu início em breve, uma bandeira laranja com um sinal sonoro será exposta durante 4 minutos, pelo menos, antes de ser exposto um sinal de advertência.

Inserir a hora.

5.5

No último dia da prova nenhum sinal de advertência será exposto depois das ____

Inserir os nomes das classes e identificação ou descrições das bandeiras.

6*

BANDEIRAS DE CLASSE

As bandeiras de classe serão:

Classe           Bandeira

______          _______

______          _______

______          _______


Inserir um número ou letra.

7

CAMPOS DE REGATA

O anexo ______ indica a localização dos campos de regata.

 

8

OS PERCURSOS

Inserir um número ou letra. Na Adenda A é apresentado um método de descrição de vários percursos. Inserir o comprimento do percurso, se tal for aplicável.

8.1*

Os diagramas no Anexo _____mostram os percursos, incluindo os ângulos aproximados entre pernas, a ordem e o lado pela qual as balizas deverão ser passadas. [A extensão aproximada do percurso será de _____].

 

8.2

Antes ou com o sinal de advertência, o barco de sinais da comissão de regatas exporá o rumo magnético aproximado da primeira perna.

 

8.3

Quando existe uma porta, os barcos deverão passar entre as balizas da porta, vindos da direcção da baliza anterior, e rondar qualquer uma das balizas da porta.

 

8.4

Os percursos não serão encurtados. Isto altera a regra 32.

Incluir somente quando a alteração de posições das balizas for impraticável.

8.5

As pernas do percurso não serão alteradas depois do sinal de preparação. Isto altera a regra 33.

 

9

BALIZAS

Alterar os números de baliza quando necessário e inserir descrições das balizas.Utilizar a segunda
alternativa quando as balizas 4E e 4B formam uma porta, com a baliza 4E a ser deixada por estibordo e a baliza 4B a ser deixada por bombordo. A menos que tal seja claro nos diagramas do percurso, assinalar quais são as balizas de rondagem.

9.1*

(OU)

9.1*

As balizas 1, 2, 3 e 4 serão _____.

 

As balizas 1, 2, 3, 4E e 4B serão ____.

Inserir as descrições das balizas.

9.2

Novas balizas, como indicado na instrução 12.1, serão _____ .

Descrever as balizas de largada e chegada: por exemplo, o barco de sinais da comissão de regatas na extremidade de estibordo e uma bóia na extremidade de bombordo. A instrução 11.2 fará a descrição da linha de largada e a instrução 13 a da linha de chegada.

9.3*

As balizas de largada e chegada serão _______.

 

9.4

Um barco da comissão de regatas que assinala uma alteração de percurso é considerado uma baliza, de acordo com a instrução 12.2.

Descrever cada uma das áreas pela sua localização e por quaisquer pormenores de aparência facilmente reconhecível.

10

ÁREAS QUE SÃO OBSTÁCULOS

As áreas seguintes são designadas como obstáculos: __________ .

 

11

LARGADA

Incluir somente se a opção com asterisco na regra 26 for usada.
Inserir o número de minutos.

11.1

 

As largadas das regatas serão efectuadas utilizando a regra 26 com o sinal de advertência exposto___ minutos antes do sinal de largada.

 

(OU)

 

Para grandes frotas e longas linhas de largada.

11.1

As largadas das regatas serão efectuadas utilizando a regra 26 com o seguinte aditamento:
Um sinal de atenção (bandeira F com um sinal sonoro) será exposto cinco minutos antes do sinal de advertência para a primeira classe a partir. A comissão de regatas designará o percurso a ser velejado antes do ou com o sinal de atenção. A bandeira F será retirada com um sinal sonoro um minuto antes do sinal de advertência. Isto altera a regra 27.1.

 

(OU)

 

Descrever outro sistema de largada diferente do especificado na regra 26.

11.1

As largadas das regatas serão efectuadas do modo seguinte: _______. Isto altera a regra 26.

 

11.2*

A linha de largada será estabelecida entre mastros que expõem bandeiras cor de laranja nas balizas de largada.

 

(OU)

 
 

11.2*

A linha de largada será estabelecida entre um mastro expondo uma bandeira cor de laranja na baliza de largada da extremidade de estibordo e a baliza de largada da extremidade de bombordo.

 

(OU)

 

Inserir a descrição.

11.2*

A linha de largada será _______.

 

11.3

Os barcos cujo sinal de advertência ainda não foi exposto devem evitar a área de largada.

Inserir o número de minutos.

11.4

Um barco que largar mais do que _____ minutos após o seu sinal de largada terá a pontuação DNS. Isto altera a regra A4.

 

11.5

Se qualquer parte do casco, tripulação ou equipamento estiver do lado do percurso da linha de largada durante os dois minutos que antecedem o seu sinal de largada, a comissão de regatas exporá a bandeira V. A bandeira permanecerá exposta até todos os barcos terem velejado completamente para o lado da pré-largada, mas nunca depois do sinal de largada.

 

(OU)

 

Inserir o número do canal.

11.5

Se qualquer parte do casco, tripulação ou equipamento estiver do lado do percurso da linha de largada durante os dois minutos que antecedem o seu sinal de largada, e o barco for identificado, a comissão de regatas tentará transmitir o seu número de vela através do canal de VHF ______ .A omissão de efectuar a transmissão ou de a cronometrar com rigor não será fundamento para um pedido de reparação. Isto altera a regra 62.1(a)

 

12

ALTERAÇÃO DA PRÓXIMA PERNA DO PERCURSO

 

12.1

Para alterar a próxima perna do percurso, a comissão de regatas fará deslocar a baliza original (ou a linha de chegada) para uma nova posição.

 

(OU)

 
 

12.1

Para alterar a próxima perna do percurso, a comissão de regatas fundeará uma nova baliza (ou deslocará a linha de chegada) e retirará a baliza original logo que praticamente viável. Quando, numa alteração subsequente, uma nova baliza for substituída, será substituída por uma baliza original.

Inverter “bombordo” e “estibordo” quando a baliza é deixada por estibordo.

12.2

Excepto numa porta, os barcos passarão entre o barco da comissão de regatas que assinala a alteração da próxima perna e a baliza mais próxima, deixando a baliza por bombordo e o barco da comissão de regatas por estibordo. Isto altera a regra 28.1.

 

13*

CHEGADA

A linha de chegada será estabelecida entre mastros que expõem bandeiras cor de laranja nas balizas de chegada.

 

(OU)

 
 

 

A linha de chegada será estabelecida entre um mastro que expõe uma bandeira cor de laranja na baliza de chegada da extremidade de estibordo e a baliza de chegada da extremidade de bombordo.

Inserir a descrição.

(OU)

A linha de chegada será _______.

 

14

SISTEMA DE PENALIZAÇÕES

Incluir a instrução 14.1 somente quando a Penalização por duas rotações não for usada. Inserir o número de lugares ou descrever as penalizações.

14.1

(OU)

14.1

A Penalização por pontuação, regra 44.3, será aplicada. A penalização será de _____ lugares.


As penalizações serão as seguintes: ________.

Inserir a(s) classe(s).

14.2

Para a(s) classe(s) ______ as regras 44.1 e 44.2 são alteradas de modo que apenas a Penalização por uma rotação, incluindo uma viragem por davante e uma viragem em roda, é exigida.

 

14.3

Um barco que recebeu uma penalização de acordo com as regras 31.2 ou 44.1 preencherá um boletim de reconhecimento na secretaria de regata dentro do tempo limite para protestar.

Aqui e abaixo, utilizar “júri” somente quando em referência a um júri internacional.

14.4

De acordo com a regra 67, a(o) [comissão de protestos] [júri] poderá, sem uma inquirição, penalizar um barco que infringiu a regra 42.

 

(OU)

 
 

14.4

Será aplicado o Apêndice P [alterado pela(s) instrução(ções)] [14.2] [e ] [14.5].

Recomendado apenas para provas de juniores

14.5

A regra P2.3 não se aplicará e a regra P2.2 é alterada de modo a que se aplicará a qualquer protesto após o primeiro.

15

TEMPO LIMITE

Inserir as classes e os tempos. Omitir o tempo limite da baliza 1, se não for aplicável.


15.1*

O tempo limite é o seguinte:

Classe Tempo limite Tempo limite baliza 1
     
     
     

Se nenhum barco tiver passado a baliza 1 dentro do tempo limite da baliza 1 a regata será anulada.

Inserir o tempo (ou tempos diferentes para classes diferentes).

15.2

Os barcos que não chegarem dentro de ______ após ter chegado o primeiro barco que cumpriu o percurso terão a pontuação DNF. Isto altera as regras 35 e A4.

 

16

PROTESTOS E PEDIDOS DE REPARAÇÃO

 

16.1

Boletins para protesto podem ser obtidos na secretaria da regata. Os protestos serão entregues na secretaria dentro do tempo limite para protestar.

Alterar o tempo, se for diferente.

16.2

Para cada uma das classes, o tempo limite para protestar é de 90 minutos após o último barco ter chegado na última regata do dia. [O mesmo tempo limite para protestar aplica-se aos protestos da comissão de regatas e da(do) (comissão de protestos) (júri) sobre incidentes que tenham observado na área de regatas, e aos pedidos de reparação. Isto altera as regras 61.3 e 62.2].

Alterar o tempo de afixação, se for diferente. Inserir o local da sala do júri e a hora da primeira inquirição.

16.3

As notificações serão afixadas até 30
minutos após ter expirado o tempo limite para protestar, informando os concorrentes sobre as inquirições nas quais eles são uma parte ou para as quais foram indicados como testemunhas. As inquirições terão lugar na sala do júri, situada em _______, com início às _____.

 

16.4

As notificações de protestos apresentados pela comissão de regatas ou pela(pelo) [comissão de protestos] [júri] serão afixadas para informar os barcos, segundo a regra 61.1(b).

 

16.5

Uma lista de barcos que, ao abrigo da instrução 14.4, admitiram ter infringido a regra 42 ou tenham sido desclassificados pela(pelo) [comissão de protestos] [júri] será afixada antes de expirar o tempo limite.

 

16.6

 

As infracções às instruções 11.3, 14.3, 18, 19.2, 22, 23 e 24 não constituirão fundamento para protesto por um barco. Isto altera a regra 60.1(a). As penalizações para estas infracções poderão ser menos graves que a desclassificação, se a(o)[comissão de protestos] [júri] assim decidir.

 

16.7

No último dia da prova, um pedido para reabertura de uma inquirição será apresentado

 

 

(a) dentro do tempo limite para protestar, se a parte que solicita a reabertura da inquirição tiver sido informada da decisão no dia anterior;

Alterar o tempo, se for diferente.

 

(b) até ao limite máximo de 30 minutos após a parte que solicita a reabertura da inquirição ter sido informada da decisão nesse mesmo dia.
Isto altera a regra 66.

Incluir somente se a comissão de protestos for um júri internacional, ou se for aplicada outra disposição da regra 70.4.

16.8

As decisões da(do)[comissão de protestos] [júri] serão finais, como determina a regra 70.4.

 

17

PONTUAÇÃO

Incluir somente se o Sistema de Pontuação Baixa for substituído pelo Sistema de Pontuação Bonificada.

17.1*

Será utilizado o Sistema de Pontuação Bonificada do Apêndice A.

 

(OU)

 

Incluir somente se nenhum dos sistemas de pontuação do Apêndice A for utilizado.
Descrever o sistema.

17.1*

O sistema de pontuação é o seguinte: ______.

Inserir o número.

17.2*

Para constituir uma série, é necessário completar _______ regatas.

Inserir os números em todos os espaços.

17.3

(a) Quando menos do que _____ regatas forem completadas, a pontuação de um barco numa série será o total das suas pontuações nas regatas.

 

 

(b) Quando entre _____ e _____ regatas forem completadas, a pontuação de um barco numa série será o total das suas pontuações nas regatas, com exclusão da sua pior pontuação.

 

 

(c) Quando _____ ou mais regatas forem completadas, a pontuação de um barco numa série será o total das suas pontuações nas regatas, com exclusão das suas duas piores pontuações.

 

18

REGULAMENTOS DE SEGURANÇA

Inserir os procedimentos para controlo de entrada e controlo de saída.

18.1

Controlo de entrada e controlo de saída: _________.

 

18.2

Um barco que se retire de uma regata notificará a comissão de regatas logo que possível.

 

19

SUBSTITUIÇÃO DE TRIPULAÇÃO OU EQUIPAMENTO

 

19.1

A substituição de concorrentes não será permitida sem aprovação prévia por escrito da(do)[comissão de regatas] [comissão de protestos] [júri].

 

19.2

A substituição de equipamento danificado ou perdido não será permitida, a menos que tenha sido aprovada pela comissão de regatas. Os pedidos de substituição serão apresentados à comissão na primeira oportunidade razoável.

 

20

VERIFICAÇÃO DE EQUIPAMENTO E MEDIÇÕES

Um barco ou equipamento pode ser inspeccionado em qualquer momento para cumprimento das regras de classe e das instruções de regata. Na água, um barco pode receber instruções do medidor da comissão de regatas para se dirigir imediatamente a uma área designada para inspecção.

Inserir as descrições. Se for conveniente, utilizar diferentes identificações para barcos que executam diferentes funções.

21

BARCOS OFICIAIS

Os barcos oficiais serão identificados do seguinte modo: ________.

 

22

BARCOS DE APOIO

 

22.1

Os chefes de equipa, treinadores e outro pessoal de apoio devem permanecer fora das áreas de regata desde o momento do sinal de preparação da primeira classe a largar até que todos os barcos tenham chegado, ou que a comissão de regatas assinale um diferimento, uma chamada geral ou a anulação da regata.

Inserir os símbolos de identificação. As letras de nacionalidade são sugeridas para provas internacionais.

22.2

Os barcos de apoio serão identificados com _______.

 

23

RESTRIÇÕES A PÔR EM SECO

Os barcos com quilha não devem ser postos em seco durante a prova, excepto com a autorização prévia por escrito da comissão de regatas e de acordo com os termos dessa autorização.

 

24

EQUIPAMENTO DE MERGULHO E PISCINAS DE PLÁSTICO

A aparelhagem de mergulho subaquático e as piscinas plásticas ou seus equivalentes não deverão ser utilizadas na proximidade de barcos com quilha entre o sinal de preparação da primeira regata e o final da prova.

Inserir qualquer texto alternativo apropriado. Descrever as bandas ou frequências de radiocomunicação que serão utilizadas ou permitidas.

25

COMUNICAÇÕES POR RÁDIO

Um barco não efectuará transmissões por rádio enquanto em regata nem receberá comunicações por rádio que não estejam à disposição de todos os barcos. Esta restrição aplica-se também a telefones móveis.

Quando são atribuídos troféus perpétuos, mencionar os seus nomes completos.

26

PRÉMIOS

Os prémios serão atribuídos da seguinte forma: _____.

 

27

DECLARAÇÃO DE RESPONSABILIDADE

Os concorrentes participam na prova inteiramente por sua conta e risco. Consultar regra 4, Decisão de Competir. A autoridade organizadora não aceitará quaisquer responsabilidades por danos materiais, ou lesões pessoais, ou morte, que tenham ocorrido antes, durante ou depois da prova.

Inserir a unidade monetária e a quantia.

28

SEGURO

Cada barco participante deve estar coberto por um seguro válido de responsabilidade civil contra terceiros pelo montante mínimo de _____ por prova ou o equivalente.

ADENDA A
DIAGRAMA DOS PERCURSOS

Mostram-se aqui exemplos de diagramas dos percursos. Qualquer percurso pode ser ilustrado de modo semelhante. Quando existir mais do que um percurso, preparar diagramas separados para cada um e indicar a maneira como cada percurso será assinalado.

Um Percurso Barlavento - Sotavento

Largada - 1 - 2 - 1 - 2 - Chegada

As opções para utilização deste percurso incluem
(1) aumento ou diminuição do número de voltas,
(2) supressão da última perna de bolina,
(3) uso de porta em vez da baliza de sotavento,
(4) uso de uma baliza de desmarque na baliza de barlavento, e
(5) utilização das balizas de sotavento e de barlavento como balizas de largada e de chegada.

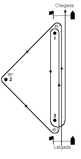
Um Percurso Triangular Barlavento – Sotavento

Largada - 1 - 2 - 3 - 1 - 3 - Chegada

As opções para utilização deste percurso incluem
(1) aumento ou diminuição do número de voltas,
(2) supressão da última perna de bolina,
(3) variação dos ângulos interiores do triângulo (45° - 90° - 45° e 60° - 60° - 60º são os mais comuns),
(4) uso de porta em vez da baliza de sotavento em pernas de popa (não de largos),
(5) uso de uma baliza de desmarque no início de pernas de popa (não de largos), e
6) utilização das balizas de sotavento e de barlavento como balizas de largada e chegada.
Assegurar que seja especificado o ângulo interior em cada baliza.

Percursos Trapezoidais


Largada - 1 - 2 - 3 - 2 - 3 - Chegada

Largada - 1 - 4 - 1 - 2 - 3 - Chegada

As opções para utilização destes percursos incluem:

  1. acréscimo de pernas adicionais,
  2. uso de portas em vez de balizas de sotavento em pernas de popa (não de largo),
  3. variação dos ângulos interiores das pernas de largo,
  4. utilização de uma baliza de desmarque no início de pernas de popa (não de
    largo), e
  5. colocação dos barcos de chegada a barlavento e não num largo.

Assegurar que seja especificado o ângulo interior de cada uma das pernas de largo. Recomenda-se que a Baliza 4 seja diferente da baliza de largada.

ADENDA B
BARCOS FORNECIDOS PELA AUTORIDADE ORGANIZADORA


A instrução de regata seguinte é recomendada quando todos os barcos são fornecidos pela autoridade organizadora. Poderá ser alterada de acordo com as circunstâncias. Quando for utilizada, deve ser inserida a seguir à instrução 3.

4 BARCOS
4.1

Serão fornecidos barcos a todos os concorrentes, que não os modificarão ou farão modificar de nenhum modo, excepto que
(a) uma bússola poderá ser amarrada ou fixada com fita adesiva ao casco ou aparelho;
(b) cataventos, incluindo fios ou linhas, poderão ser amarrados ou fixados com fita adesiva em qualquer parte do barco;
(c) os cascos, patilhões e lemes só poderão ser limpos com água;
(d) pode ser aplicada fita adesiva em qualquer local do barco acima da linha de água; e
(e) todos os acessórios e equipamentos concebidos para serem ajustados poderão ser ajustados, uma vez que as regras da classe sejam respeitadas.
4.2
Todo o equipamento destinado a navegação fornecido com o barco deve ser transportado no barco quando a flutuar.
4.3
A penalização por infracção a uma das instruções acima será a desclassificação em todas as regatas em que a infracção foi cometida.
4.4
Os concorrentes participarão ao representante da autoridade organizadora qualquer avaria ou perda de equipamento, ainda que insignificantes, logo após terem amarrado o barco a terra. A penalização por infracção a esta instrução será a desclassificação na regata mais recente, a não ser que [a comissão de protestos] [o júri] aceite que o concorrente fez tudo que estava ao seu alcance para a cumprir.
4.5
Não se aplicarão as regras de classe que prescrevem que os concorrentes têm que ser membros da associação de classe.