ANNEXE L
GUIDE POUR LES INSTRUCTIONS DE COURSE

Ce guide propose une série d’instructions de course testées, conçues à l’origine pour les régates de championnats importants pour une ou plusieurs classes. Elles seront donc particulièrement utiles pour les championnats du monde, continentaux et nationaux et autres épreuves d’égale importance. Ce guide peut également être utile pour d’autres épreuves ; cependant, pour ces épreuves, certaines de ces instructions seront inutiles ou indésirables. Les comités de course devraient donc être attentifs en faisant leurs choix.
Une version étendue de ce guide, Annexe LE, est disponible sur le site Internet de l’ISAF (www.sailing.org). Elle contient aussi bien des dispositions applicables aux compétitions multi séries les plus importantes et les plus compliquées, que des variantes de plusieurs des instructions de course recommandées dans cette annexe. Elle sera modifiée de temps en temps, pour refléter les innovations des techniques de direction des courses à mesure de leur développement, et pourra être téléchargée en tant que texte de base pour établir les instructions de course de toute épreuve particulière. L’Annexe L peut aussi être téléchargée à partir du site Internet de l’ISAF.

Les principes sur lesquels toutes les instructions de course devraient être fondées sont les suivants :

1 Elles devraient inclure seulement deux types d’instructions : les intentions du
comité de course et du jury et les obligations des concurrents.
2 Elles ne devraient mentionner que ce qui concerne la course. Les informations concernant les festivités, les attributions des mouillages, etc., devraient être communiquées séparément.

3 Elles ne devraient pas modifier les règles de course sauf si cela est véritablement souhaitable. (Quand elles le font, elles doivent suivre la règle 86 en se référant spécifiquement à la règle étant modifiée et en énonçant la modification.)

4 Elles ne devraient pas répéter ou reformuler les règles de course.

5 Elles ne devraient pas se répéter.

6 Elles devraient être dans l’ordre chronologique ; c’est-à-dire l’ordre dans lequel le concurrent les utilisera.

7 Elles devraient, si possible, utiliser les mots ou les formulations des règles de course.

Pour utiliser ce guide, revoyez d’abord la règle J2 et décidez quelles instructions seront nécessaires. Les instructions exigées par la règle J2.1 sont signalées par un astérisque (*). Supprimez toutes les instructions inapplicables ou inutiles. Sélectionnez la version préférée quand il y a un choix. Suivez les indications de la marge gauche pour remplir les espaces signalés par un trait ( ____ ) et choisissez la formulation désirée si un choix ou une option est indiqué entre crochets ([….]).
Après avoir supprimé les instructions inutilisées, re-numérotez toutes les instructions dans l’ordre séquentiel. Assurez-vous que les numéros sont corrects quand une instruction se réfère à une autre.

Sur des lignes séparées, insérez le nom complet de la régate, les dates depuis la jauge ou la course d’entraînement jusqu’à la dernière course ou la cérémonie de clôture, le nom de l’autorité organisatrice et la ville et le pays

   
   
   

INSTRUCTIONS DE COURSE

 

1

REGLES

1.1*

La régate sera régie par les règles telles que définies dans Les Règles de Course à la Voile.

Utilisez la première phrase si approprié. Insérez le nom. Listez par numéro et titre les prescriptions qui ne s’appliqueront pas (voir la règle 88). Utilisez la seconde phrase si elle s’applique et si des inscriptions d’autres autorités nationales sont attendues, et mentionnez les prescriptions en entier.

1.2

[Les prescriptions nationales suivantes ne s’appliqueront pas : ________________.] [Les prescriptions qui s’appliqueront sont énoncées en totalité cidessous.]

 

(OU)

 

A utiliser uniquement si l’autorité nationale du lieu de l’épreuve n’a pas adopté de prescription à la règle 88.

1.2

Aucune prescription nationale ne s’appliquera.

Listez par noms tous les autres documents qui régissent l’épreuve ; par exemple, Les Règles d’Equipement pour les Bateaux, dans la mesure où elles s’appliquent.

1.3*

______________________________ s’appliqueront.

Voir la règle 86. Insérez ici tout (s) numéro(s) de règle(s) et indiquez les modifications, ou, si cette instruction n’est pas utilisée, faites de même dans chaque instruction qui modifie une règle.

1.4

La (les) règle(s) de course sera(ont) modifiée(s) comme suit : ________ .

Par exemple, utilisez « deux » quand la zone de course est particulièrement petite ou « quatre » quand les bateaux sont particulièrement rapides.

1.5

Selon la règle 86.1(b), dans la définition de Zone la distance est changée en [deux] [quatre] longueurs de coque.

Insérez le(s) numéro(s) de la(des) règle(s) et le nom de la classe. Faites une phrase différente pour les règles de chaque classe.

1.6

Selon la règle 87, la(les) règle(s) ________ des règles de la classe ____________ [ne s’appliqueront pas] [est (sont) modifiée(s) comme suit : ________ ].

 

1.7

En cas de conflit dans la traduction, le texte anglais prévaudra.

Insérez le(s) lieu(x).

2

AVIS AUX CONCURRENTS
Les avis aux concurrents seront affichés sur le(s) tableau(x) d’affichage officiel(s) situé(s) ______.

Changez les heures si elles sont différentes.

3

MODIFICATIONS AUX INSTRUCTIONS DE COURSE
Toute modification aux instructions de course sera affichée avant 09h00 le jour où elle entrera en vigueur, sauf tout changement dans le programme des courses qui sera affiché avant 20h00 la veille du jour où il prendra effet.

 

4

SIGNAUX FAITS A TERRE

Insérez le lieu.

4.1

Les signaux faits à terre seront envoyés __________.

Insérez le nombre de
minutes.

4.2

Quand le pavillon Aperçu est envoyé à terre, « 1 minute » est remplacé par « pas moins de ____ minutes » dans Signaux de course : Aperçu.

 

(OU)

 

Insérez le nombre de minutes.

4.2

Le pavillon D avec un signal sonore signifie « Le signal d’avertissement ne sera pas fait moins de ____ minutes après l’envoi du pavillon D. [Les bateaux ne doivent pas quitter le port avant l’envoi de ce signal] ».

 

 

Supprimez si prévu par une règle de classe.

4.3

Quand le pavillon Y est envoyé à terre, la règle 40.1 s’applique à tout moment sur l’eau. Ceci modifie le préambule du chapitre 4.

 

5

PROGRAMME DES COURSES

Modifiez selon les souhaits et insérez les dates et classes. Incluez une course d’entraînement s’il y en a une. Quand la série est constituée de courses qualificatives et de courses finales, spécifiez-le. Le programme peut aussi être donné en annexe.

5.1*

Dates des courses :
Date Classe _______ Classe ________
_____ course(s) course(s)
_____ course(s) jour de réserve
_____ jour de réserve course(s)
_____ course(s) course(s)
_____ course(s) course(s)

Insérez les classes et les nombres.

5.2*

Nombre de courses :
Classe Nombre Courses par jour

_____ _____ _____

_____ _____ _____

Une course supplémentaire par jour peut être courue, à condition qu’aucune classe ne soit en avance de plus d’une course par rapport au programme et que la modification soit faite selon l’instruction 3.

Insérez l’heure.

5.3*

L’heure prévue pour le signal d’avertissement de la première course chaque jour est ______.

5.4

Après un long retard, pour prévenir les bateaux qu’une course ou séquence de courses va bientôt commencer, un pavillon orange sera envoyé avec un signal sonore au moins quatre minutes avant l’envoi du signal d’avertissement.

Insérez l’heure.

5.5

Le dernier jour de la régate, aucun signal d’avertissement ne sera donné après ______.

Insérez les classes et le nom ou la description des pavillons.

6*

PAVILLONS DE CLASSE
Les pavillons de classe seront :
Classe Pavillon

_____ _____

_____ _____

_____ _____

Insérez un nombre ou une lettre.

7

ZONES DE COURSE
L’annexe _______ indique l’emplacement des zones de
course.

 

8

LES PARCOURS

Insérez un nombre ou une lettre. Une méthode pour illustrer les différents parcours est donnée dans l’addenda A. Insérez la longueur du parcours si cela s’applique.

8.1*

Les schémas dans l’annexe ____ montrent les parcours, incluant les angles approximatifs entre les bords de parcours, l’ordre dans lequel les marques doivent être passées, et le côté duquel chaque marque doit être laissée. [La longueur approximative du parcours sera ____.]

 

8.2

Au plus tard avec le signal d’avertissement, le bateau du comité de course affichera le cap compas approximatif du premier bord du parcours.

 

8.3

Les parcours ne seront pas réduits. Ceci modifie la règle 32.

A inclure uniquement quand le changement de position des marques est irréalisable.

8.4

Les bords du parcours ne seront pas modifiés après le signal préparatoire. Ceci modifie la règle 33.

9

MARQUES

Changez les numéros des marques selon les besoins et insérez la description des marques. Utilisez la seconde option quand les marques 4T et 4B forment une porte, la marque 4T devant être laissée à tribord et la marque 4B à bâbord. A moins que cela ne soit clair sur les schémas des parcours, indiquez quelles marques sont des marques à contourner.

9.1*

Les marques 1, 2, 3 et 4 seront ___________ .

(OU)

9.1*

Les marques 1, 2, 3, 4T et 4B seront __________ .

A moins que cela ne soit clair sur les schémas de parcours, listez les marques qui sont des marques à contourner.

9.2

Les marques suivantes sont des marques à contourner :_____.

Insérez les descriptions des marques.

9.3

Les nouvelles marques, tel que prévu dans l’instruction 12.1, seront _________ .

Décrivez les marques de départ et d’arrivée : par exemple, le bateau du comité de course à l’extrémité tribord et une bouée à l’extrémité bâbord. L’instruction 11.2 décrira la ligne de départ et l’instruction 13 la ligne d’arrivée.

9.4*

Les marques de départ et d’arrivée seront _______ .

 

9.5

Un bateau du comité de course signalant un changement d’un bord du parcours est une marque tel que prévu dans l’instruction 12.2.

Décrivez chaque zone par son emplacement et par tout détail visuel qui permette de la reconnaître facilement.

10

ZONES QUI SONT DES OBSTACLES
Les zones suivantes sont considérées comme des obstacles :___________________ .

 

11

LE DEPART

Inclure seulement si l’option marquée d’un astérisque dans la règle 26 sera utilisée. Insérez le nombre de minutes.

11.1

Les départs des courses seront donnés en application de la règle 26, avec le signal d’avertissement fait ____ minutes avant le signal de départ.

Décrivez tout système de départ différent de ce qui est prévu dans la règle 26.

11.1

Les départs des courses seront donnés comme suit : __________. Ceci modifie la règle 26.

 

11.2*

La ligne de départ sera entre des mâts arborant un pavillon orange sur les marques de départ.

 

(OU)

 
 

11.2*

La ligne de départ sera entre un mât arborant un pavillon orange sur la marque de départ à l’extrémité tribord et la marque de départ située à l’extrémité bâbord.

 

(OU)

 

Insérez la description.

11.2*

La ligne de départ sera ________.

 

11.3

Les bateaux dont le signal d’avertissement n’a pas été donné doivent éviter la zone de départ durant la procédure de départ des autres courses.

Insérez le nombre de minutes.

11.4

Un bateau qui ne prend pas le départ au plus tard _____ minutes après son signal de départ sera classé DNS sans instruction. Ceci modifie la règle A4.

Insérez le numéro de canal..

11.5

Si une partie quelconque de la coque d’un bateau, de son équipage ou de son équipement est du côté parcours de la ligne de départ dans les deux minutes précédant son signal de départ et qu’il est identifié, le comité de course essaiera de transmettre son numéro de voile sur le canal VHF . L’échec de la transmission ou le fait de ne pas le faire au bon moment ne pourra pas constituer un motif de demande de réparation. Ceci modifie la règle 62.1(a).

 

12

CHANGEMENT DU BORD SUIVANT DU PARCOURS

 

12.1

Pour changer le bord suivant du parcours, le comité de course déplacera la marque originale (ou la ligne d’arrivée) vers une nouvelle position.

 

(OU)

 
 

12.1

Pour changer le bord suivant du parcours, le comité de course mouillera une nouvelle marque (ou déplacera la ligne d’arrivée) et enlèvera la marque d’origine aussitôt que possible. Quand lors d’un changement ultérieur, une nouvelle marque est remplacée, elle sera remplacée par une marque d’origine.

Inversez « bâbord » et « tribord » quand la marque est à laisser à tribord.

12.2

Sauf à une porte, les bateaux doivent passer entre le bateau du comité de course signalant le changement du bord suivant et la marque la plus proche, en laissant la marque à bâbord et le bateau du comité de course à tribord. Ceci modifie la règle 28.1.

 

13*

L’ARRIVEE
La ligne d’arrivée sera entre des mâts arborant un pavillon orange sur les marques d’arrivée.

 

(OU)

 
   

La ligne d’arrivée sera entre un mât arborant un pavillon orange sur la marque d’arrivée à l’extrémité tribord et la marque d’arrivée à l’extrémité bâbord.

 

(OU)

 

Insérez la description.

La ligne d’arrivée sera : ___________ .

 

14

SYSTEME DE PENALITE

Inclure l’instruction 14.1 seulement quand la pénalité de deux tours ne sera pas utilisée. Insérez le nombre de places ou décrivez les pénalités.

14.1

Le système de pénalité en points, règle 44.3, s’appliquera. La pénalité sera de _____ places.

(OU)

 

14.1

Les pénalités sont les suivantes : __________ .

Insérez la (les) classe(s).

14.2

Pour la (les) classe(s) ______, la règle 44.1 est modifiée de sorte que la pénalité de deux tours est remplacée par la pénalité d’un tour.

Ici et ci-dessous, utilisez « jury » uniquement en référence à un jury international.

14.3

Tel que prévu dans la règle 67, le [comité de réclamation] [jury] peut, sans instruction, pénaliser un bateau qui a enfreint la règle 42.

 

(OU)

 
Sauf si la totalité de l’annexe P s’applique, précisez toutes les restrictions.

14.3

L’annexe P s’appliquera [telle que modifiée par l’(les) instruction(s) [14.2] [et] [14.4].

Recommandé uniquement dans les épreuves pour les jeunes.

14.4

La règle P2.3 ne s’appliquera pas et la règle P2.2 est modifiée de sorte qu’elle s’appliquera à toute pénalité après la première.

15

TEMPS LIMITES ET TEMPS CIBLE

Insérez les classes et les temps. Enlevez le temps limite pour la marque 1 si cela est inapplicable.

15.1*

Les temps limites et les temps cible sont les suivants :

Classe Temps limite Temps limite pour la marque 1Temps cible

_______ _________ ____________________ __________

_______ _________ ____________________ __________

_______ _________ ____________________ __________

Si aucun bateau n’a passé la marque 1 dans le temps limite pour la marque 1, la course sera annulée. Le manquement à satisfaire au temps cible ne pourra faire l’objet d’une réparation. Ceci modifie la règle 62.1 (a).

Insérez le temps (ou les différents temps pour les différentes classes).

15.2

Insérez le temps (ou 15.2 Les bateaux manquant à finir dans un délai de _______ après
le premier bateau ayant effectué le parcours et fini seront classés DNF sans instruction. Ceci modifie les règles 35, A4 et A5.

 

16

RECLAMATIONS ET DEMANDES DE REPARATION

Précisez l’endroit si nécessaire.

16.1

Les formulaires de réclamation sont disponibles au secrétariat de course [, situé à ____]. Les réclamations et les demandes de réparation ou de réouverture doivent y être déposées dans le temps limite approprié.

Changez le temps s’il est différent.

16.2

Pour chaque classe, le temps limite de réclamation est de 90 minutes après que le dernier bateau a fini la dernière course du jour.

Changez l’heure d’affichage si différente. Insérez le lieu du local du jury et l’heure de la première instruction.

16.3

Des avis seront affichés pas plus tard que 30 minutes après le temps limite de réclamation pour informer les concurrents des instructions dans lesquelles ils sont parties ou appelés comme témoins. Les instructions auront lieu dans le local du jury, situé ______, et commenceront à [le temps affiché] ______.

 

16.4

Les avis des réclamations du comité de course ou du [comité de réclamation] [jury] seront affichés pour informer les bateaux selon la règle 61.1(b).

 

16.5

Une liste des bateaux qui, selon l’instruction 14.3, ont été pénalisés pour avoir enfreint la règle 42 sera affichée.

 

16.6

Les infractions aux instructions 11.3, 18, 21, 23, 24, 25, 26 et 27 ne pourront faire l’objet d’une réclamation par un bateau. Ceci modifie la règle 60.1(a). Les pénalités pour ces infractions peuvent être plus légères qu’une disqualification si le jury le décide. L’abréviation de score pour une pénalité discrétionnaire selon cette instruction sera DPI.

 

16.7

Le dernier jour programmé des courses, une demande de réouverture d’instruction doit être déposée

   

(a) ddans le temps limite de réclamation si la partie requérante a été informée de la décision la veille ;

Changez le temps s’il
est différent.

 

(b) pas plus de 30 minutes après que la partie requérante a été informée de la décision ce même jour.

   

Ceci modifie la règle 66.

  16.8

Le dernier jour programmé des courses une demande de réparation basée sur une décision du jury devra être déposée pas plus tard que 30 minutes après que la décision ait été affichée. Ceci modifie la règle 62.2.

A inclure uniquement si le comité de réclamation est un jury international ou si une autre disposition de la règle 70.5 s’applique.

16.9

Les décisions du [comité de réclamation] [jury] seront sans appel comme prévu dans la règle 70.5.

 

17

CLASSEMENT

A inclure uniquement si le Système de Points a Minima est remplacé par le Système de Points avec Bonus.

17.1*

Le Système de Points avec Bonus de l’annexe A s’appliquera.

 

(OU)

 

A inclure uniquement si aucun des systèmes de points de l’annexe A ne sera utilisé. Décrivez le système.

17.1*

Le système de classement est le suivant : _________ .

Insérez le nombre.

17.2*

____ courses doivent être validées pour constituer une série.

Insérez les nombres.

17.3

(a) Quand moins de ____ courses ont été validées, le score d’un bateau dans la série sera le total de ses scores dans les courses.

(b) Quand ____ à _____ courses ont été validées, le score d’un bateau dans la série sera le total de ses scores dans toutes les courses en retirant son plus mauvais score.

(c) Quand ____ courses ou plus ont été validées, le score d’un bateau dans la série sera le total de ses scores dans toutes les courses en retirant ses deux plus mauvais scores.

 

18

REGLES DE SECURITE

Insérez la procédure de contrôle à la sortie et au retour.

18.1

Contrôle à la sortie et au retour : _____________ .

 

18.2

Un bateau qui abandonne une course doit le signaler au comité
de course aussitôt que possible.

 

19

REMPLACEMENT D’EQUIPIER OU D’EQUIPEMENT

 

19.1

Le remplacement de concurrents ne sera pas autorisé sans l’approbation préalable, par écrit, du [comité de course] [comité de réclamation] [jury].

 

19.2

Le remplacement d’équipement endommagé ou perdu ne sera pas autorisé sans l’autorisation du [comité de course] [jury]. Les demandes de remplacement doivent être faites au [comité de course] [jury] à la première occasion raisonnable.

 

20

CONTROLES DE JAUGE ET D’EQUIPEMENT
Un bateau ou son équipement peuvent être contrôlés à tout moment pour vérifier la conformité aux règles de classe et aux instructions de course. Sur l’eau, un jaugeur ou un inspecteur d’équipement du comité de course peut demander à un bateau de rejoindre immédiatement une zone donnée pour y être contrôlé.

Voir la Régulation 20.3(d) de l’ISAF. Insérez l’information nécessaire sur le matériel publicitaire.

21

PUBLICITÉ

LLes bateaux [doivent] [peuvent] porter la publicité fournie par l’autorité organisatrice comme suit : _______.

Insérez les descriptions. Si besoin, utilisez des marquages d’identification différents selon les différents rôles des bateaux.

22

BATEAUX OFFICIELS

Les bateaux officiels seront identifiés comme suit : _________ .

 

23

BATEAUX ACCOMPAGNATEURS

 

23.1

Les directeurs d’équipe, entraîneurs et autres accompagnateurs doivent rester en dehors des zones où les bateaux courent depuis le signal préparatoire de la première classe à prendre le départ jusqu’à ce que tous les bateaux aient fini ou que le comité de course signale un retard, un rappel général ou une annulation.

Insérez les marquages d’identification. Les lettres de nationalité sont suggérées pour les épreuves internationales.

23.2

Les bateaux accompagnateurs seront identifiés par ________ .

 

24

ÉVACUATION DES DÉTRITUS
Les bateaux ne doivent pas jeter leurs détritus dans l’eau. Les détritus peuvent être placés à bord des bateaux commissaires et du bateau du comité de course.

 

25

LIMITATIONS DE SORTIE DE L’EAU
Les quillards ne doivent pas être sortis de l’eau pendant la régate sauf sous réserve et selon les termes d’une autorisation écrite préalable du comité de course.

 

26

EQUIPEMENTS DE PLONGEE ET PISCINES PLASTIQUES
Les appareils de respiration sous-marine et les piscines plastiques ou leur équivalent ne doivent pas être utilisés à proximité de quillards entre le signal préparatoire de la première course et la fin de la régate.

Insérez tout autre texte qui s’applique. Décrivez les bandes de communication ou les fréquences qui seront utilisées ou autorisées.

27

COMMUNICATION RADIO
Excepté en cas d’urgence, un bateau ne doit ni effectuer de transmission radio pendant qu’il est en course ni recevoir de communications radio qui ne soient pas recevables par tous les bateaux. Cette restriction s’applique également aux téléphones portables.

Si des trophées permanents sont attribués, mentionnez leur nom en entier.

28

PRIX
Des prix seront distribués comme suit : ________ .

Les lois applicables au lieu où se tient l’épreuve peuvent limiter les décharges. Toute décharge devrait être rédigée conformément à ces lois.

29

DECHARGE DE RESPONSABILITE
Les concurrents participent à la régate entièrement à leurs propres risques. Voir la règle 4, Décision de courir. L’autorité organisatrice n’acceptera aucune responsabilité, en cas de dommage matériel, de blessure ou de décès, dans le cadre de la régate, aussi bien avant, pendant, qu’après la régate.

Insérez la devise et le montant et.

30

Chaque bateau participant doit détenir une assurance valide en responsabilité civile avec une couverture minimale d’un montant de _______ , ou son équivalent, pour l’épreuve.

 

Addenda A

ILLUSTRATION DU PARCOURS
Quelques schémas de formes de parcours sont indiqués ci-dessous. Le sillage des bateaux est représenté par une ligne discontinue, ainsi chaque schéma peut décrire des parcours avec des nombres de tours différents. Si plus d’un parcours peut être utilisé pour une classe, précisez comment chaque parcours particulier sera signalé.

Un parcours simple au vent – sous le vent
Départ – 1 – 2 – 1 – 2 – Arrivée

Les options pour ce parcours sont les suivantes
(1) augmenter ou diminuer le nombre de tours,
(2) supprimer le dernier bord de près,
(3) utiliser une porte au lieu d’une marque sous le vent,
(4) utiliser une marque de dégagement à la marque au vent, et
(5) utiliser les marques sous le vent et au vent comme marques de départ et d’arrivée.

 

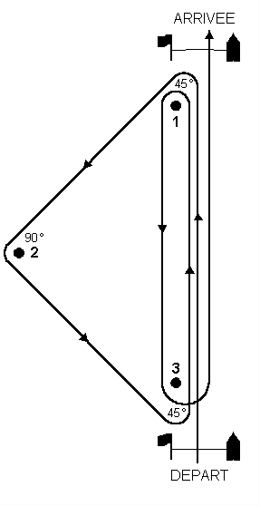
Un parcours triangle au vent – sous le vent
Départ – 1 – 2 – 3 – 1 – 3 – Arrivée

Les options pour ce parcours sont les suivantes

(1) augmenter ou diminuer le nombre de tours,

(2) supprimer le dernier bord de près,

(3) varier les angles intérieurs du triangle (45°-90°-45° et 60°-60°-60° sont courants),

(4) utiliser une porte au lieu d’une marque sous le vent pour les bords de vent arrière (mais pas pour les largues),

(5) utiliser une marque de dégagement au début des bords de vent arrière (mais pas pour les largues), et

(6) utiliser les marques sous le vent et au vent comme marques de départ et d’arrivée.

Assurez-vous de spécifier l’angle intérieur à chaque marque.

 


Départ– 1 – 2 – 3 – 2 – 3 – Arrivée

Départ– 1 – 4 – 1 – 2 – 3 – Arrivée

Parcours en trapèze

Les options pour ce parcours sont les suivantes

(1) ajouter des bords supplémentaires,

(2) remplacer la porte montrée par une simple marque, ou utiliser également une porte dans la boucle externe,

(3) varier l’angle intérieur des bords de largue,

(4) utiliser une marque de dégagement au début des bords de vent arrière, et

(5) placer les bateaux d’arrivée au vent plutôt que sur un largue.

Assurez-vous de spécifier l’angle intérieur de chaque bord de largue.

ADDENDA B
BATEAUX FOURNIS PAR L’AUTORITE ORGANISATRICE
L’instruction suivante est recommandée quand tous les bateaux seront fournis par l’autorité organisatrice. Cela peut être modifié pour convenir aux circonstances. Quand elle est utilisée, elle devrait être insérée après l’instruction 3.

4 BATEAUX

4.1 Les bateaux seront fournis pour tous les concurrents, qui ne doivent en aucune façon les modifier ou faire en sorte qu’ils soient modifiés avec les exceptions suivantes

(a) un compas peut être attaché ou scotché à la coque ou aux espars ;

(b) des indicateurs de vent, y compris des fils ou des brins de laine, peuvent être attachés ou scotchés n’importe où sur le bateau ;

(c) les coques, dérives et gouvernails peuvent être nettoyés, mais uniquement à l’eau ;

(d) du ruban adhésif peut être utilisé n’importe où au-dessus de la ligne de flottaison ; et

(e) tout accastillage ou équipement prévu pour être réglé peut l’être, à condition que les règles de classe soient respectées.

4.2 Tout équipement fourni avec le bateau aux fins de navigation doit être dans le bateau lorsqu’il est à l’eau.

4.3 La pénalité pour n’avoir pas respecté une des instructions ci-dessus sera la disqualification de toutes les courses disputées dans lesquelles l’instruction a été enfreinte.

4.4 Les concurrents doivent faire rapport de tout dommage ou perte d’équipement, même minime, au représentant de l’autorité organisatrice, immédiatement après avoir amarré le bateau à terre. La pénalité pour infraction à cette instruction, à moins que le [comité de réclamation] [jury] soit convaincu du fait que le concurrent a fait un effort certain pour y satisfaire, sera la disqualification à la course la plus récemment disputée.

4.5 Les règles de classe exigeant des concurrents qu’ils soient membres de l’association de classe ne s’appliqueront pas.